近日,国际经济与管理研究院研究生相继在国内外重要学术期刊发表论文。
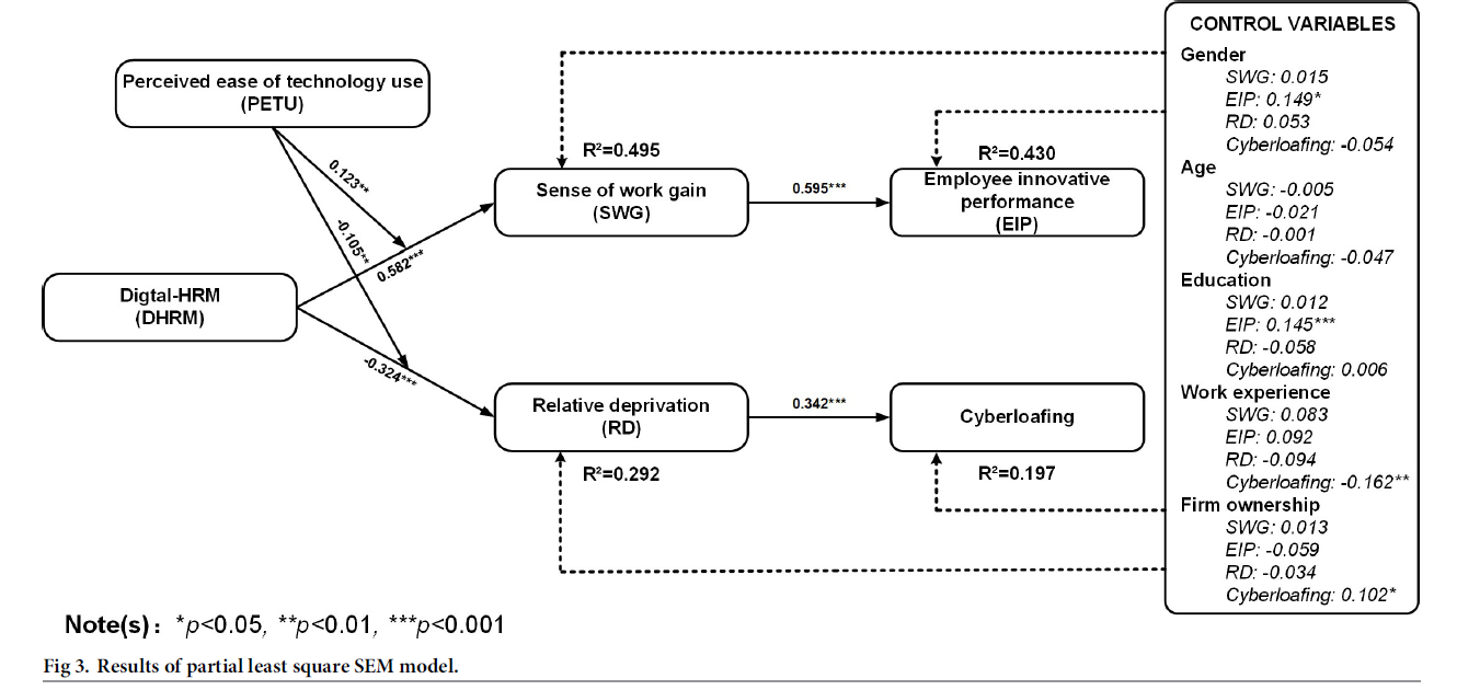
国际经济与管理研究院2022级工商管理专业硕士研究生蓝雨婷主笔的文章在国际期刊《PLOS ONE》(JCR一区)发表,题为“The dual path effect mechanism study of digital-HRM on employee innovative performance and cyberloafing”。胡冬梅教授为论文的第一作者,硕士生蓝雨婷为论文的第二作者兼通讯作者,西华大学为论文的第一完成单位。

基于工作需求—资源理论,该研究深入探究了数字化人力资源管理(Digital-HRM)对员工的创新绩效(EIP)以及网络闲逛行为(Cyberloafing)的影响,并探究了工作获得感(SWG)和相对剥夺感(RD)在其中的中介作用以及感知技术易用性(PETU)的调节作用。研究采用定量研究方法,通过三个时点进行线上问卷调查来收集研究数据(N = 487)。采用SmartPLS、SPSS以及Mplus对研究数据进行统计分析,以检验和验证假设。

原文链接:https://doi.org/10.1371/journal.pone.0307195
国际经济与管理研究院2022级工商管理专业硕士研究生邵婧芝主笔的文章在国际期刊《Chinese Management Studies》(SSCI)发表,题为“Workplace small talk and task performance: the chain mediation role of relational energy and positive affect”。陈玉玲副教授为论文的第一作者,硕士研究生邵婧芝为第二作者兼通讯作者,西华大学为论文的第一完成单位。该研究工作为国家自然科学基金青年基金项目(72102186)的阶段性成果之一。

该研究聚焦于中国组织情景工作场所闲聊现象(WST),深入探讨了工作场所闲聊对中国员工任务绩效的影响,并探索了关系能量(RE)和积极情感(PA)在其中的中介作用。研究采用定量研究方法,通过两个时点进行线上问卷调查来收集数据(N = 516)。采用层次回归法和Bootstrap法对这些数据进行统计分析,以检验提出的假设。

原文链接:https://www.emerald.com/insight/content/doi/10.1108/CMS-11-2023-0613/full/html
国际经济与管理研究院2021级工商管理专业硕士研究生王苗主笔的文章在CSSCI收录期刊《科技进步与对策》发表,题为“团队对外领地行为如何影响团队知识共享:团队心理安全氛围与团队正念的作用”。赵修文教授为论文的第一作者,硕士研究生王苗为论文的第二作者兼通讯作者,西华大学为论文的第一完成单位。该研究工作为四川省社会科学重点研究基地项目(W222280,W222281)的阶段性成果之一。

该研究聚焦于组织行为研究领域的领地行为,关注组织中团队之间的领地行为对团队自身产生的影响,深入探讨团队对外领地行为对团队知识共享的影响,并探索了团队心理安全氛围在其中的中介作用以及团队正念的调节作用。研究采用定量研究方法,通过收集64个团队的329名员工数据,并利用SPSS和Mplus等数据分析软件进行统计分析,以检验提出的假设。

研究表明,团队对外领地行为正向影响团队知识共享。研究还发现,团队正念在团队对外领地行为与团队知识共享之间起显著调节作用。

川公网安备 51010602000503号